Witaj! Panel klienta

0 986 478 216BOSCH

tarcza hamulcowa
TARCZA HAMULC. AUDI 80 QUATTRO 82-96 TYŁ
Parametry:
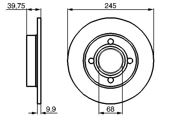
  • średnica zewnętrzna [mm] : 244,9
  • Grubość tarczy hamulcowej [mm] : 10
  • Minimalna grubość [mm] : 8
  • Wysokość [mm] : 39,8
  • Ø rozmieszczenia otworów [mm] : 108
  • Typ tarczy hamulcowej : pełny
  • Średnica otworu centrującego [mm] : 68
  • Liczba otworów : 4
  • Powierzchnia : naoliwione
  • spełnia wymagania Normy ECE : ECE-R90
  • Średnica otworu do [mm] : 15,5
( brutto)
SKU 0 986 478 216
Producent

Kłodnica
Towar dostępny od ręki
0
Magazyn 1.
Pn-Pt zamówienia do 10:55 - dostawa 3 trasa Zamówienia do 17:55 dostawa 1 trasa rano
0
Magazyn 2.
Zamówienia do 17:55 dostawa 1 trasa rano
0
Magazyn 3.
Zamówienia do 17:55 dostawa 1 trasa rano
0
APEC: DSK106
ATE: 24 0110 0182 1, 24 1110 0182 1
BENDIX: 561240B, B 333649
BRADI: 1010654
BRECO: BS 7395
BREMBO: 08 5213 10, PAD2191
CAR: 142707
DELPHI: BG2517, BG517
FERODO: DDF216, DDF2161, DRF216, WN476
FTE: BS3629
GIRLING: 6015363, DF1536
GRAF: DF29658
INTERBRAKE: AD141X
JURID: 561240J, 561240JC, 8290204320
LPR: A1141P
MAGNETI MARELLI: 353610106540, 360406012100, 431602041260
METELLI: 230658, 800658
MINTEX: MDC562
NK: 204748
NUOVA TECNODELTA: HPD707
OPTIMAL GERMANY: BS1200C
PAGID: 53916
PEX: 140022
PILENGA: 5365
QUINTON HAZELL: BDC3629, BSF3629
RAICAM: RD00875
REMSA: 612000
ROADHOUSE: 6120 00
SBS: 1815204748, 204748
SEBRO: 2371, 2384
TEXTAR: 92026300, 98200 0263, 98200026301
TRUSTING: DF711
TRW: DF1536
VALEO: 186292
ZIMMERMANN: 100120700, 100122300, 100122320, 100122350, 100122352
AUDI: 80 B2 sedan (811, 813, 814, 819, 853) (1978-08 » 1987-03), 80 B3 sedan (893, 894, 8A2) (1986-06 » 1991-10), 80 B4 Avant (8C5) (1991-09 » 1996-01), 80 B4 sedan (8C2) (1991-09 » 1995-07), 90 B2 (813, 814, 853) (1984-08 » 1988-07), 90 B3 (893, 894, 8A2) (1987-04 » 1991-09), COUPE B3 (89, 8B3) (1988-10 » 1996-12)