Witaj! Panel klienta

0986477148BOSCH

bęben hamulcowy
BĘBEN HAMULC.
Parametry:
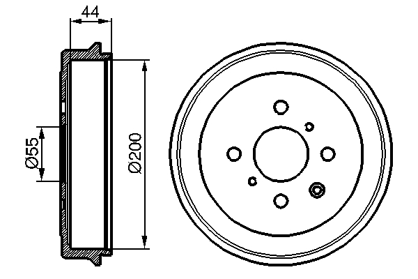
  • Strona zabudowy : Oś tylna
  • Średnica wewnętrzna bębna hamulca [mm] : 200
  • Średnica zewnętrzna bębna hamulca [mm] : 233
  • Wewnętrzna wysokość bębna hamulca [mm] : 44
  • Całkowita wysokość bębna hamulca [mm] : 53,5
  • Ø rozmieszczenia otworów [mm] : 100
  • Liczba otworów : 4
  • Średnica otworu centrującego [mm] : 55
( brutto)
SKU 0986477148
Producent

Kłodnica
Towar dostępny od ręki
0
Magazyn 1.
Pn-Pt zamówienia do 10:55 - dostawa 3 trasa Zamówienia do 17:55 dostawa 1 trasa rano
0
Magazyn 2.
Zamówienia do 17:55 dostawa 1 trasa rano
0
Magazyn 3.
Zamówienia do 17:55 dostawa 1 trasa rano
0
CITROEN: 4247 48
PEUGEOT: 4247 48
SUZUKI: 43511-62J10
TOYOTA: 424310H010, 424748
APEC: BDR9029, DRM9205, DRM9979
ATE: 24 0220 0046 1
BENDIX: 329265B
DELPHI: BF506, BF571
FTE: BT1030
GIRLING: DB4362
JURID: 329265J
MINTEX: MBD303
PAGID: 61265
QUINTON HAZELL: BDR641
REMSA: 709600
ROADHOUSE: 7096 00
SBS: 1825251911
TEXTAR: 94026500
ZIMMERMANN: 180510300
CITROEN: C1 (PM_, PN_) (2005-06 » 2014-09), C1 II (PA_, PS_) (2014-04 » 2021-07)
PEUGEOT: 107 (PM_, PN_) (2005-06 » 2016-05), 108 (2014-05 » )
SUZUKI: SPLASH (EX) (2008-01 » ), SWIFT III (MZ, EZ) (2005-02 » )
TOYOTA: AYGO (_B1_) (2005-02 » 2014-05), AYGO (_B4_) (2014-05 » ), AYGO Furgon/hatchback (_B1_) (2005-07 » 2014-05)